S造柱リスト

S造柱リスト

メインメニュー「部材リスト」→「S造柱」を選択し、「鉄骨柱リスト」ウインドウを開きます。符号名、部材サイズ等を直接入力または選択により設定してください。


「S 造柱断面リスト」 画面


「S 造柱材料リスト」 画面

S造柱断面リストの入力項目

項目備考
符号半角英数文字で入力します
断面形状*1「HX,HY,BHX,BHY,□,B□,■,B■,○,B○,●,B●,-,同上」から選択してください。
サイズ鋼材寸法を入力します。
位置「全断面」「柱頭・柱脚」から選択してください。

*1 断面形状で選択する記号は以下の通りです。

断面形状の記号と部材名

記号断面形状
角形鋼管(規格品)
B□角形鋼管(組立品)
円形鋼管(規格品)
B○円形鋼管(組立品)
CFT柱(角形鋼管,規格品)
B■CFT柱(角形鋼管,組立品)
CFT柱(円形鋼管,規格品)
B●CFT柱(円形鋼管,組立品)
HX,HYH形鋼(規格品)
BHX,BHYH形鋼(組立品)

断面寸法の設定

断面寸法は、以下のとおり直接入力または選択して設定します。

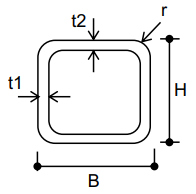
  • 角形鋼管(□,B□,■,B■)の場合
(単位:mm)
  • H形鋼(HX,HY,BHX,BHY)の場合
(単位:mm)
  • 円形鋼管(○,B○,●,B●)の場合
(単位:mm)

規格品の断面形状の設定

断面形状のプルダウンメニューから規格品の記号を選択すると、以下のウインドウが開きますので、任意の断面をクリックしてください。断面リストに選択した断面サイズの値が反映されます。

規格品の部材形状の選択画面


H 形鋼


角形鋼管


円形鋼管